Skip to content Skip to navigation Skip to footer
POLARIS OFF-ROAD VEHICLES

HELP CENTER

3/3/2021
Parts for ACE Windshields

Listed below are the parts that make up the windshields for Polaris ACE vehicles. Included are diagrams and the part numbers for spare part kits. Each diagram and parts listing is specific to that particular windshield.

To order a replacement part for your windshield, see your authorized Polaris Dealer. If you need a part not listed, also consult your Polaris Dealer. To determine if a windshield fits your ACE, visit the Accessories section of the ACE website.

Ace website

Lock & Ride Poly Hard Coat Flip Down Windshield (Part Number 2882443)
For more information, view the installation instructions.

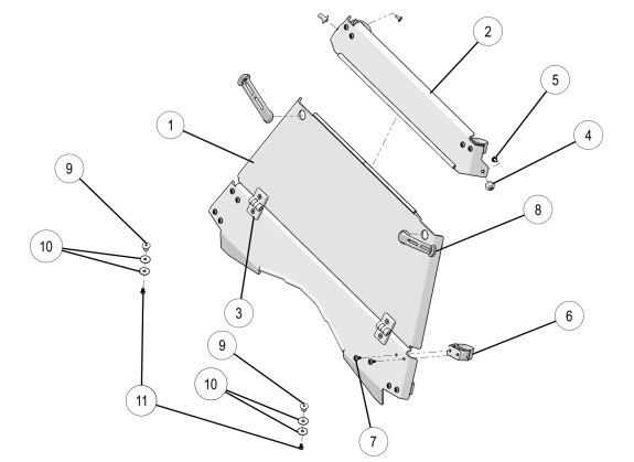
Flip Down Windshield

Flip Down windshield drawing

The following table lists the parts included in the windshield kit, as well as the service kits that replacement parts can be found in. Identification numbers correspond to the above diagram. To order a kit, see your Polaris Dealer.

 Item   Description  Quantity   Service Kit 
1  Poly Windshield, Flip 1
2  Visor, Windshield 1
3  Hinge, Butterfly (includes associated hardware) 2 2206600
4  Ball Stud, Visor 2 2206600
5  TORX® Screw 2 2206600
6  Clamp 6 2878747
7  Screw, Button Head 12 2878747
8  Bumper Strap, Rubber 2 2206600
9  Spacer 2 2206600
10  Washer 4 2206600
11  Screw 2 2206600

Lock & Ride Full Poly Windshield (Part Number 2879693)

Lock and Ride full poly windshield

Spare parts can be found in the Lock & Ride Clamp Kit (part number 2878747), which includes one clamp and two screws. That kit is sold individually, not in pairs. To order that kit, see your Polaris Dealer.

Lock & Ride Mid Poly Windshield (Part Number 2879694)
For more information, view the installation instructions.

Poly mid windshield

Mid poly windshield

Spare parts can be found in the Lock & Ride Clamp Kit (2), which includes one clamp and two screws (part number 2878747). That kit is sold individually, not in pairs. To order that kit, see your Polaris Dealer.

Half Poly Windshield for ACE 150 (Part Number 2882264)

Ace 150 half poly windshield

The following parts are included in the windshield kit:
Socket Head Cap Screw M6 x 20 (x 4)
Rubber Seal (x 1)
Plain Washer M6 (x 4)
P-Clamp (x 4)
Flange Nylok Nut M6 (x 4)
Half Windshield, Poly (x 1)

TORX® is a registered trademark of Acument Intellectual Properties, LLC 

Keyword(s) part , parts , spare , replace , replacements , windshield , cab ,